Контрольная течь «КТ-2 АКУСТИКА»
Контрольная течь «КТ-2 АКУСТИКА»
Контрольная течь «КТ-2 АКУСТИКА» предназначена для проверки работоспособности течеискательной аппаратуры при проведении контроля герметичности неконтактным акустическим газовым методом и проверки пороговой чувствительности акустического газового метода с помощью калиброванных контрольных течей с площадью критического поверяемого микросопла 0,02 мм2±1%.


Контрольная течь «КТ-2 АКУСТИКА» позволяет производить калибровку нижнего порога чувствительности течеискательной аппаратуры и неконтактного акустического газового метода контроля герметичности с применением контактных усилителей акустического поля сквозного дефекта как средств контроля герметичности применяемых в процессе пневмоиспытаний.

А)
На Рис. А представлена контрольная течь (изометрия) для проверки нижнего порога чувствительности акустического газового метода, содержащая: 1 - прижимная гайка 2- контрольная течь в сборе, 3 - входной канал. Также на рис. представлены линии АА´ и ББ´, определяющие плоскость реза указанной контрольной течи, для пояснения работы устройства.

Б)
На Рис. Б представлена контрольная течь для проверки нижнего порога чувствительности акустического газового способа в плоскости реза содержащей линии АА´ и ББ´ (Рис. А), содержащая: 2 – корпус контрольной течи, 3 - входной канал, 4 –критическое калиброванное микро сопло, выполненное во вставке - 6, 1 - прижимная гайка, 7- уплотнительный элемент, 5 - выполненная в прижимной гайке калибровочная емкость.

В)
На Рис. В представлена часть контрольной течи для проверки нижнего порога чувствительности акустического газового способа, поясняющая работу устройства и содержащая: 1 - прижимная гайка, 4 - критическое калиброванное микро сопло, выполненное во вставке , 5 - выполненная в гайке калибровочная емкость, 8 - индикаторная линейка с рисками, обеспечивающими требуемый уровень наполнения контактных жидкостей для усиления акустического поля.

Г)
На Рис. Г представлен элемент контрольной течи (вид сверху) для проверки нижнего порога чувствительности акустического газового способа, содержащий: 1 - прижимная гайка, 4 - критическое калиброванное микро сопло, выполненное во вставке, 5 - выполненная в гайке калибровочная емкость, 10 - сетчатый элемент, 9 - прижимные планки для фиксации сетчатого элемента, 11- фиксирующие винты.
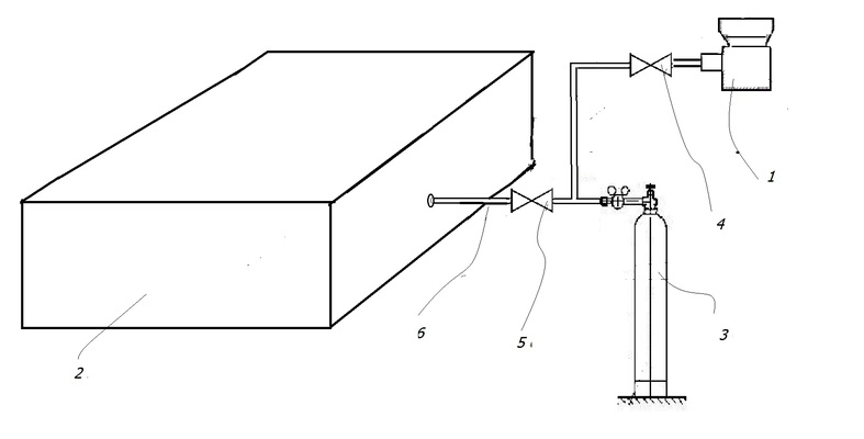
СХЕМА ПОДСОЕДИНЕНИЯ КОНТРОЛЬНОЙ ТЕЧИ «КТ-2 АКУСТИКА» В ПРОЦЕССЕ ПРОВЕРКИ ПОРОГОВОЙ ЧУВСТВИТЕЛЬНОСТИ

Cхема подсоединения контрольной течи «КТ-2 АКУСТИКА» в процессе проверки пороговой чувствительности:
1 –контрольная течь в сборе; 2-объект контроля; 3- баллон с контрольным газом (или иное средство создания контрольной среды) 4, 5 – газовые клапаны. 6- штенгельная заправочная трубка
ФОРМА ТИПОВОЙ ПОВЕРКИ КРИТИЧЕСКОГО МИКРОСОПЛА КОНТРОЛЬНОЙ ТЕЧИ «КТ-2 АКУСТИКА»



Контрольная течь «КТ-1» (Диффузионная контрольная течь «ДКТ-1»)
Контрольная течь «КТ-1» (диффузионная контрольная течь «ДКТ-1») - калиброванный источник микро-потоков контрольного газа (гелия) для проверки пороговой чувствительности течеискателей методом щупа и проверки качества пленочных индикаторов при проведении контроля пневматическим способом надувом контрольного газа (обмыливания). «КТ-1» - высокоточный управляемый калиброванный источник микро-потоков контрольного газа гелия (или другого газа по требованию заказчика) для кали. Широкий диапазон расходов (10-9 – 10-4 м3Па/c) с погрешностью не более 10% обеспечивается за счет диффузионного механизма истечения контрольного газа. Надежность работы КТ обеспечивает продолжительную эксплуатацию без дополнительной перекалибровки.


Блок - течь «БТ-1»
Калиброванная механическая регулируемая блок - течь «БТ-1» - предназначена для создания стабильного потока контрольного газа или жидкости, а также для калибровки и настройки средств контроля герметичности.

